
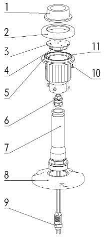
产品名称:立式滑行道边灯
型号:MC-TEL(L)
光源:LED 蓝光
滑行道边灯(Taxiway edge lights):沿滑行道两旁安装用以指示滑行道边沿的灯具,滑行道边灯发全向蓝光。
l 符合国际标准化组织(ISO)标准;
l 符合中国民用航空局CAAC:《跑道和滑行道助航灯具技术要求》(AC-137-CA-2015-03)以及
《民用机场LED助航灯具通用技术要求》 (AC-137-CA-2015-01)的规定;
l 符合国际民航组织ICAO公约附件14 - 机场要求;
l 符合中华人民共和国国家标准GB/T 7256-2005《民用机场灯具一般要求》的规定;
l 符合民用机场飞行区技术标准MH-5001-2013的规定。
l 灯具设计严格按照CAAC:《跑道和滑行道助航灯具技术要求》(AC-137-CA-2015-03)以及《民用机场LED助航灯具通用技术要求》(AC-137-CA-2015-01)技术要求设计;
l LED的长寿命、节能及免维护等特性,带来了经济效益;
l 高效功率因数校正电路,有效降低对供电网络的干扰;
l 高频开关方式LED恒流电路;
l 高精度数字调光,完美模拟卤素光源的调光曲线;
l 专业的LED散热方式,有效降低灯珠和驱动器的工作温度,保证LED的长时间使用寿命;
l 采用125度高温长寿命电解电容,提升LED驱动电源的使用稳定性;
l 灯具整体结构紧凑,造型美观,迎风面积小,抗风能力强(可承受240km/h的风速);
l 灯具主体采用铝合金材料且表面进行防腐处理,轻巧、坚固且防腐性能好;
l 灯具整体防护达到IP54等级,杜绝灰尘和雨水等对灯具内部的侵蚀;
l 玻璃透镜采用特殊钢化玻璃,防止温度剧烈变化造成玻璃透镜炸裂;
l 紧固件采用不锈钢材料,经久耐用;
l 易折件经精密机械加工符合CAAC及FAA要求,性能稳定可靠;
l 零部件模块化设计且通用,易于更换。
